El espejo retrovisor llegó a los automóviles para hacer los viajes más seguros. Realmente funciona como un dispositivo de seguridad y que facilita muchas cosas a la hora de estar tomando el volante. Por lo mismo, cuando se aprende a conducir, es una de las principales cosas que se toman en cuenta.
Históricamente, quien patentó el espejo retrovisor fue Elmer Berger en 1921, con el nombre de Cop-Spotter. Desde entonces, los espejos retrovisores forman parte de todas las cosas que conforman a un vehículo, por lo que existen de diferentes formas.
Al transcurrir los años, como ocurre regularmente en la industria automotriz, se han venido haciendo avances tecnológicos que facilitan aún más las cosas y hacen todavía más seguros los trayectos que se hacen conduciendo un automóvil.
Es así que BWM está patentando su espejo retrovisor inteligente, el cual llevarán sus autos eléctricos. Este invento no es algo nuevo dentro del mercado automotriz pero lo que ha presentado este fabricante de autos y motocicletas de alta gama y lujo a la Oficina Alemana de Patentes y Marcas (DPMA), va más allá de lo que se ha visto.

Características del espejo retrovisor inteligente de BMW
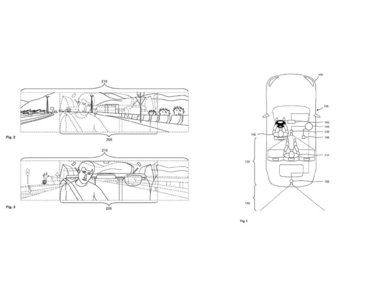
Compuesto de dos cámaras de monitoreo, el espejo retrovisor inteligente de BMW tiene una mejor imagen para el conductor del automóvil. Una de las cámaras funge como espejo retrovisor. La otra está colocada por fuera del vehículo para estar al tanto de lo que ocurre.
El sistema de proceso del espejo retrovisor inteligente de BMW funciona en ambas cámaras, informando datos relacionados con la visibilidad y el estado del tiempo, por lo que será de gran ayuda en cualquier estado climático en el que se conduzca.
El sofware del espejo retrovisor inteligente de BMW, en base a lo que perciba en el camino, decide qué es lo más importante que debe de saber el conductor del automóvil. También cuenta con sensores (micrófonos) que van detectando cosas.
Los sensores externos, por lo mismo son algo muy importante para el espejo retrovisor inteligente de BWM, ya que en cuanto pueda detectar que algo es peligroso lo hace saber, como los llamados puntos muertos, que son algo tan conocidos dentro de los automovilistas.
Las cámaras del espejo retrovisor inteligente de BMW también funcionan hacia los lados del vehículo. Todo esto dará una sensación de seguridad al 100%.
